Дренажный насос Wilo Drain TMW 32/11 со встроенным взмучивающим устройством предназначен для автоматического режима работы в режиме опорожнения водосборных шахт, котлованов или резервуаров, особенно с повышенным количеством шлама. Погружной насос выполнен в качестве блочного агрегата с погружным электродвигателем, управлением работой установки по уровню, ручкой для переноски, кабелем электропитания и встроенным устройством защиты от перегрева. Высокая надёжность эксплуатации достигается за счёт манжетного уплотнения, состоящего из скользящего торцового уплотнения со стороны электродвигателя, масляной камеры и скользящего торцового уплотнения со стороны насоса, а также электродвигателя, оснащенного охлаждающим кожухом.
Специальное исполнение HD в высококачественным корпусом электродвигателя из нержавеющей стали, защитная пластина, вал и винты выполнены для агрессивных перекачиваемых жидкостей.
Технические характеристики
Материалы
- Корпус насоса: PP-GF30 (полипропилен, армированный стекловолокном, 30%)
- Рабочее колесо: PP-GF30 (полипропилен, армированный стекловолокном, 30%)
- Материал уплотнения: NBR
Эксплуатационные параметры
- Минимальная температура перекачиваемой жидкости 3°C
- Максимальная температура перекачиваемой жидкости 35°C
- Кратковременно допустимая температура жидкости (не более 3 минут) 90°C
- Максимальное рабочее давление 10 бар
- Максимальная глубина погружения 1 метр
- Напор 11 метров
Данные электродвигателя
- Подключение к сети 1~230 В, 50 Гц
- Механическая номинальная мощность электродвигателя 0.37 кВт
- Номинальная мощность Р2 370 Вт
- Номинальный ток 1.8 А
- Коэффициент мощности 0.98
- Класс защиты IP68
Кабель
- Тип кабеля H07RN-F
- Сечение кабеля 3G1 мм²
- Длина кабеля электропитания 4 метра
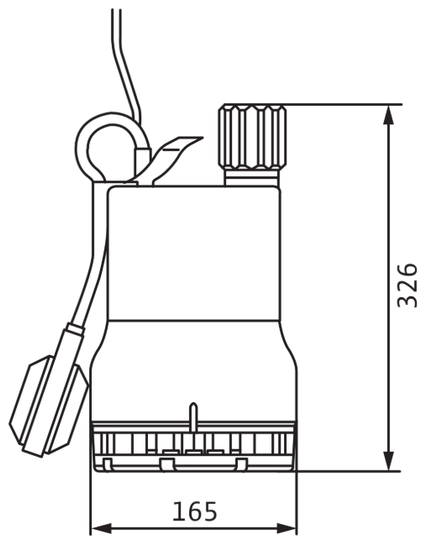
Установочные размеры
- Условный диаметр DN 32 мм
- Размер присоединения к трубопроводу с напорной стороны Rp 1¼"
Габариты
- Масса нетто приблизительно 6 кг
- Высота 326 мм
- Ширина 165 мм
Указания по монтажу и эксплуатации
- Температура в месте установки насоса (в шахте) не должна опускаться ниже 0°С.
- Состояние шахты обязательно должно обеспечивать беспрепятственную подвижность поплавкового выключателя.
- Насосы обычно устанавливаются в затопленном (погружённом) положении, стационарный монтаж или использование в переносном варианте возможны только в вертикальном положении.
- Насос можно полностью погружать в перекачиваемую жидкость.
- Для стационарного монтажа насос привинчивается к жёстко закрепленному напорному трубопроводу или для мобильного монтажа подсоединяется к напорному шлангу.
- Погружные насосы, имеющие кабель для сетевого подключения короче 10 м, допускаются к эксплуатации только внутри зданий.
- Запрещено применять насос для дренажа плавательных/садовых бассейнов или подобных объектов, если в воде находятся люди.
- Не перекачивайте с помощью насоса питьевую воду.
- Подвешивать или переносить насос за кабель запрещено.
- Во избежание блокировки насоса вследствие длительного простоя необходимо регулярно (каждые два месяца) проверять работу насоса, запуская его на короткое время путём поднятия поплавкового выключателя вручную или непосредственного включения.
- Каждые 2000 часов эксплуатации необходимо, чтобы сотрудник технического отдела фирмы Wilo выполнил техническое обслуживание насоса.







